Содержание
Механизмы переключения передач.
ВАЗ 2101-2107, 2121-23.
Принцип действия.
Механизм переключения передач автомобилей ВАЗ 2101-07, 2121-23 состоит из штоков, на которых закреплены вилки переключения передач.
При включении передачи происходит следующее: рычаг переключения передач входит своей лапкой в паз головки штока соответствующей передачи и сдвигает его в продольном направлении вместе с вилкой переключения передач. Вилка, в свою очередь, сдвигает муфту синхронизатора в сторону шестерни выбраной передачи. Дальнейшие процессы описаны в разделе "Синхронизаторы коробки передач".
Для того, чтоб передача не включалась и не отключалась самопроизвольно, шток фиксируется в крайних положениях с помощью подпружиненного шарика.
Кроме того, для исключения одновременного включения сразу двух передач в конструкции механизма переключения предусмотрен замок, который не дает смещаться штокам, если другой шток сдвинут с нейтрального положения.
Детали.
21010-1702060-00 - шток I-II передачи 4-ступенчатой КПП.
21070-1702060-00 - шток I-II передачи 5-ступенчатой КПП, головка длиннее, чем на «четырехступке».

21010-1702077-00 - шарик (одинаковый для всех штоков).
21010-1702087-00 - пружина фиксатора штока штоков I-II и III-IV передачи.
21080-1702087-00 - пружина фиксатора штока V передачи.
21010-1702086-00 - втулка фиксатора штока (одинакова для всех штоков).
21010-1702024-00 - вилка переключения передач (одинакова для I-II и III-IV передач)
21010-1702071-00 - шток III-IV передачи 4-ступенчатой КПП, головка прямая.
21070-1702071-00 - шток III-IV передачи 5-ступенчатой КПП, головка изогнутая.
21230-1702071-00 - шток III-IV передачи 5-ступенчатой КПП, ВАЗ 2123.


21010-1702107-00 - сухарь блокировочный штока I-II передачи.
21010-1702108-00 - сухарь блокировочный штока III-IV передачи.
21010-1702109-00 - сухарь блокировочный штока V передачи.


21010-1702082-10 - шток заднего хода 4-ступенчатой КПП, короткий, с одним резьбовым отверстием.
21070-1702082-00 - шток V передачи и заднего хода 5-ступенчатой КПП до 1995 г., с двумя резьбовыми отверстиями(под вилку и головку).
21070-1702082-10 - шток V передачи и заднего хода 5-ступенчатой КПП с 1995 г., с одним резьбовым (под вилку) и одним гладкостенным (под головку) отверстиями.
21070-1708076-00 - головка штока V передачи до 1995 г., с гладкостенным отверстием.
21070-1708076-10 - головка штока V передачи с 1995 г., с резьбовым отверстием.
21070-1702080-00 - шток V передачи и заднего хода 5-ступенчатой КПП до 1995 г. в сборе.
21070-1702080-10 - шток V передачи и заднего хода 5-ступенчатой КПП с 1995 г. в сборе.
21230-1702080-00 - шток V передачи и заднего хода 5-ступенчатой КПП в сборе, ВАЗ 2123.

21010-1702084-00 - втулка дистанционная штока заднего хода.
21010-1702050-00 - вилка заднего хода 4-ступенчатой КПП, выполняет роль и вилки, и головки штока.
21070-1702036-00 - вилка V передачи и заднего хода 5-ступенчатой КПП.

ВАЗ Samara, 110, Priora, Kalina, Granta.
Принцип действия.
Механизм переключения передач для переднеприводных автомобилей ВАЗ с тяговым приводом состоит из штока выбора передач, механизма выбора передач, штоков включения передач и вилок. На конце штока выбора передач находится двуплечий рычаг, который взаимодействует с первым плечом трехплечего рычага механизма выбора передач. Второе плечо трехплечего рычага взаимодействует со штоками включения передних передач, а третье - с вилкой включения заднего хода. Кроме трехплечего рычага в механизме выбора передач имеются блокировочные скобы.
В нейтральном положении рычага переключения передач второе плечо трехплечего рычага находится в пазу головки штока III-IV передачи, а блокировочные пластины фиксируют от смещения штоки I-II и V передачи, а так же вилку включения заднего хода. В этом положении возможно включение II или III передачи.
- головка штока и вилка I-II передачи.
- головка штока III-IV передачи.
- головка штока V передачи.
- второе плечо трехплечего рычага.
- третье плечо трехплечего рычага.
- блокировочные пластины.
- ось трехплечего рычага.
- вилка включения заднего хода.
При включении, например, первой передачи водитель переводит рычаг переключения передач в положение, из которого можно включить I или II передачу (первая фаза). При этом рычаг переключения передач, через тягу, поворачивает шток выбора передач, а тот своим двуплечим рычагом давит на первое плечо трехплечего рычага.
Трехплечий рычаг смещается вдоль своей оси вместе с блокировочными пластинами и его второе плечо проходит в паз головки штока I-II передачи. В это время блокировочные пластины фиксируют от смещения штоки III-IV и V передачи, а также вилку заднего хода.
Далее водитель переводит рычаг переключения передач в положение I передачи (вторая фаза). При этом рычаг переключения передач смещает шток выбора передач вперед, а тот своим двуплечим рычагом давит на первое плечо трехплечего рычага и проворачивает его на оси. Второе плечо трехплечего рычага при этом смещает шток I передачи вместе с вилкой в продольном направлении. Вилка, в свою очередь, сдвигает муфту синхронизатора в сторону шестерни выбраной передачи. Дальнейшие процессы описаны в разделе "Синхронизаторы коробки передач".
При включении заднего хода все происходит аналогичным образом, но в первой фазе трехплечий рычаг смещается вдоль оси сильнее, так, что его второе плечо полностью выходит из взаимодействия с головками штоков передних передач, которые в этот момент фиксируются от смещения блокировочной пластиной. В это же время блокировочная пластина освобождает вилку заднего хода и с вилкой yачинает взаимодействовать третье плечо трехплечего рычага.
Механизм переключения передач для переднеприводных автомобилей ВАЗ с тросовым приводом отличается по конструкции, но очень схож по принципу действия.
Цитирую фрагмент статьи из журнала «За рулем»
https://www.zr.ru/content/articles/504079-novaja_korobka_peredach_granty_i_kaliny_taga_k_trosu/#
Механизм переключения.
У старой коробки он расположен внизу и купается в масляной ванне. После ночевки на морозе масло густело, оттого переключать передачи первые несколько километров было трудно. Кроме того, в нижней части коробки находились фиксаторы штоков и вилки заднего хода, выключатель фонарей заднего хода, сальник выбора передач — всё это потенциальные источники течи. Герметики и прочие материалы, конечно, помогали, но радикально проблему удалось решить только переносом механизма наверх.
Новый механизм — это отдельный модуль. Его можно установить в последнюю очередь и демонтировать при необходимости без разбора коробки. Это технологично не только в производстве, но и при ремонте. Уже на стадии концепции, разработанной вазовцами, в нем появилась селекторная решетка, четко повторяющая схему переключения передач и задающая ход рычага при выборе передач. В механизме предусмотрели блокировку от случайного включения заднего хода, который доступен только из «нейтрали».
Воплотив концепцию в металле и заставив правильно работать, узел отдали на доводку немецкой фирме «Шеффлер» (Scha¨ffler), издавна занимающейся инжинирингом и производством деталей двигателей, трансмиссий и шасси. Одно из самых любопытных изменений, предложенных иностранными специалистами, — так называемая трехмерная центральная пластина вместо нескольких возвратных пружин и блокировок. Ее пространственная форма рассчитана сложной компьютерной программой, а оборудование для изготовления требует высокой точности. Ведь по этой пластине гуляет шарик центрального фиксатора, именно она задает необходимые усилия при включении и выборе скоростей.
Характеристики механизма подбирали на оригинальном симуляционном стенде. Испытатель усаживается на сиденье и начинает перебирать передачи, автоматика же имитирует схему переключения, усилия и ходы рычага, реализованные на конкретном серийном автомобиле. Можно подгрузить и свой вариант настроек. Не нравится излишне тугой рычаг? Пара ударов по клавиатуре — и усилия снижены. Так, шаг за шагом, подобрали оптимальные настройки для «восемьдесят первой». Компьютер обработал данные и выдал параметры для построения точной математической модели, по которой изготовили те самые хитрые центральные пластины.
- рычаги выбора передач;
- штифт селекторной решетки;
- селекторная решетка;
- механизм блокировки заднего хода;
- центральная трехмерная пластина.
В фиксаторе, который ходит по центральной пластине и передает усилия на рычаг, нет ни одного подшипника скольжения. Шарики, установленные между всеми контактирующими поверхностями, сводят на нет механические потери, повышая информативность привода.
Вилки переключения I-II и III-IV передач собраны на одном неподвижном штоке и двигаются вдоль его оси. Поэтому головки, на которые воздействует лапка механизма переключения передач выполнены непосредственно на вилках. Шток включения V передачи подвижен, на одном его конце находится вилка включения V передачи, на другом - головка штока, которая взаимодействует с лапкой механизма переключения передач и с вилкой включения заднего хода.
Детали.
21080-1703042-01 - сальник штока выбора передач ВАЗ 2108-99, 2110-12, 2113-15, 1117-19.
21080-1703042-12 - сальник штока выбора передач ВАЗ 2170-72, 2190-92.
Сальники отличаются друг от друга толщиной, но при этом вместо 21080-1703042-01 можно использовать 21080-1703042-12.

21080-1703048-00 - корпус сальника штока выбора передач ВАЗ 2108-99, 2110-12, 2113-15, 1117-19.
21080-1703048-10 - корпус сальника штока выбора передач ВАЗ 2170-72, 2190-92.
21080-1703024-01 - шток выбора передач ВАЗ 2108-99, 2113-15.
21100-1703024-00 - шток выбора передач ВАЗ 2110-12, 1117-19, 2170-72, 2190-92.
Штоки выбора передач отличаются друг от друга длиной: 331 мм у «восьмого» и 334 мм у «десятого». Штоки не взаимозаменяемы.

21080-1703028-10 - рычаг штока выбора передач ВАЗ 2108-99, 2113-15.
21100-1703028-00 - рычаг штока выбора передач ВАЗ 2110-12, 1117-19, 2170-72, 2190-92.

21080-1703038-00 - винт конический рычага штока ВАЗ 2108-99, 2110-12, 2113-15, 1117-19, 2170-72, 2190-92.
21083-1703050-00 - механизм выбора передач ВАЗ 2108-99, 2113-15. Корпус изготовлен методом штамповки. Механизм не взаимозаменяем с «десятым» и «калиновским».
21100-1703050-00 - механизм выбора передач ВАЗ 2110-12. Корпус литой.
11190-1703050-00 - механизм выбора передач ВАЗ 2110-12, 1117-19, 2170-72, 2190-92. Корпус литой.
Последние два механизма отличаются друг от друга расположением пружин, возвращающих трехплечий рычаг в нейтральное положение: у «десятого» одна пружина находится на оси трехплечего рычага, а вторая - на дполнительной оси (которая удерживает блокировочные пластины от проворачивания), а у «калиновского» обе пружины находятся на оси трехплечего рычага. «Десятый» и «калиновский» механизмы взаимозаменяемы.
21800-1702012-00 - механизм переключения передач КПП 21806.
21810-1702012-00 - механизм переключения передач КПП 21816.
21820-1705012-00 - актуатор механизма переключения передач КПП 21826.
Информация о взаимозаменяемости уточняется.
21810-1702370-00 - фиксатор центральный КПП 21806, 21816.
21080-1702046-00 - вилка включения заднего хода ВАЗ 2108-99, 2113-15.
21100-1702046-00 - вилка включения заднего хода ВАЗ 2110-12, 1117-19, 2170-72, 2190-92.
Вилки не взаимозаменяемы.
21800-1702044-00 - вилка включения заднего хода КПП 21806, 21826.
21810-1702044-00 - вилка включения заднего хода КПП 21816.
Вилки не взаимозаменяемы.
21080-1107148-00 - шайба стопорная ∅8 вилки включения заднего хода ВАЗ 2108-99, 2110-12, 2113-15, 1117-19, 2170-72, 2190-92.
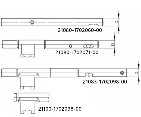
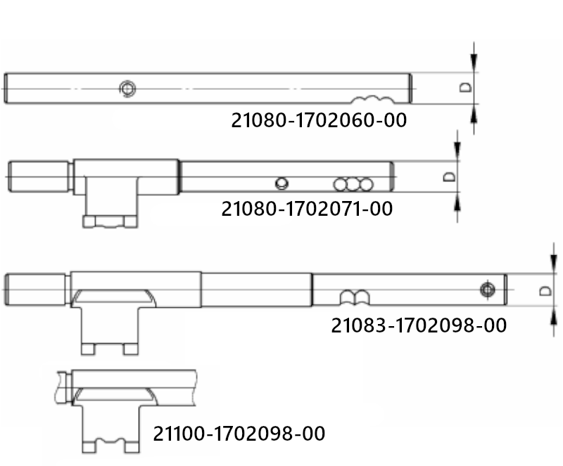
21080-1702060-00 - шток I-II передачи ВАЗ 2108-99, 2110-12, 2113-15, 1117-19, 2170-72, 2190-92. Головка отсутствует, т.к. она выполнена на вилке.
21080-1702071-00 - шток III-IV передачи ВАЗ 2108-99, 2110-12, 2113-15, 1117-19, 2170-72, 2190-92.
21083-1702098-00 - шток V передачи ВАЗ 2108-99, 2113-15.
21100-1702098-00 - шток V передачи ВАЗ 2110-12, 1117-19, 2170-72, 2190-92.
Конструктивные отличия штоков видны на рисунке ниже.
21080-1702024-00 - вилка I-II передачи ВАЗ 2108-99, 2110-12, 2113-15, 1117-19, 2170-72, 2190-92.
21080-1702030-00 - вилка III-IV и V передачи ВАЗ 2108-99, 2113-15, 1117-19, III-IV передачи ВАЗ 2110-12, 2170-72, 2190-92.
21100-1702036-00 - вилка V передачи ВАЗ 2110-12, 2113-15, 1117-19, 2170-72, 2190-92. От 21080-1702030-00 отличается лыской (на рисунке показана стрелкой)
21010-1702028-00 - болт вилки (одинаковый для вилок I-II, III-IV и V передач) ВАЗ 2108-99, 2110-12, 2113-15, 1117-19, 2170-72, 2190-92.
10516470 00001-0005164-70 - шайба пружинная (гровер) ∅6 (одинаковая для вилок I-II, III-IV и V передач) ВАЗ 2108-99, 2110-12, 2113-15, 1117-19, 2170-72, 2190-92.
21810-1702061-00 - шток вилок переключения I-II и III-IV передач КПП 21806, 21816, 21826.
21810-1702098-00 - шток V передачи и заднего хода КПП 21806, 21816, 21826.
21810-1702022-00 - вилка I-II передачи КПП 21806, 21816, 21826.
21810-1702026-00 - вилка III-IV передач КПП 21806, 21816, 21826.
21810-1702070-00 - головка штока V передачи и заднего хода КПП 21806, 21816, 21826.
21810-1702034-00 - вилка V передачи КПП 21806, 21816, 21826.
00001-0041660-70 - штифт цилиндрический штока V передачи и заднего хода КПП 21806, 21816, 21826.
21010-1702077-00 - шарик (одинаковый для всех трех фиксаторов штоков и для вилки заднего хода) ВАЗ 2108-99, 2110-12, 2113-15, 1117-19, 2170-72, 2190-92.
21080-1702087-00 - пружина фиксатора штока (одинакова для всех трех фиксаторов штоков и для вилки заднего хода) ВАЗ 2108-99, 2113-15.
21010-1702087-00 - пружина фиксатора штока (одинакова для всех трех фиксаторов штоков и для вилки заднего хода) ВАЗ 2110-12, 1117-19, 2170-72, 2190-92.
21080-3512115-00 - прокладка пробки фиксатора штока (одинакова для всех трех фиксаторов штоков и для вилки заднего хода) ВАЗ 2108-99, 2110-12, 2113-15.
21080-1011062-00 - прокладка пробки фиксатора штока (одинакова для всех трех фиксаторов штоков и для вилки заднего хода) ВАЗ 1117-19, 2170-72, 2190-92.
11110-1702112-00 - пробка фиксатора штока (одинакова для всех трех фиксаторов штоков и для вилки заднего хода) ВАЗ 2108-99, 2110-12, 2113-15.
11180-1702110-00 - пробка фиксатора штока (одинакова для всех трех фиксаторов штоков и для вилки заднего хода) ВАЗ 1117-19, 2170-72, 2190-92. От предыдущей отличается шестигранным шлицем, т.е. вкручивается не рожковым, а шестигранным ключом.






























